首页 / 教育 / 正文
省属新招169人!快来选岗~

Time:2024年09月08日 Read:238 评论:0


又一波省属公告新发

新增27个单位招169人!

快来选岗~


想偷懒的同学可以直接找浙江小粉笔

获取事考公告汇总和岗位表


扫码获取

岗位表

和报名表




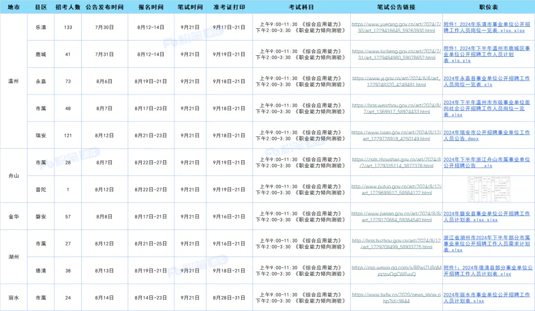
浙江事业单位统考考试时间:9月21日

上午9:00-11:30 《综合应用能力》

下午2:00-3:30 《职业能力倾向测验》

往期公告指路

浙江事业单位招636人!正式编制,应往届均有岗!

新招250人!又一批事业单位公告发布!有编制,快报名!

新招103人,两地新发事业单位招聘公告!

省属,衢州事业编公告发布!招245人!


01

FENBI

省属岗位报考时间线


报名时间:8月27日-9月2日

准考证打印:9月18日-20日

笔试时间:暂定9月21日

点我获取公告和岗位表


好啦,公告就到这了

有公告还会继续更新哟~

小粉笔还有一系列活动等着来参与!

模考大赛   上岸学员分享

1元事考礼包   事考群刷题

等你来~


更多精彩活动+备考资料免费领

-本文内含广告-

原文链接:http://56ceo.com/?id=562

标签:

发表评论:

◎欢迎参与讨论,请在这里发表您的看法、交流您的观点。

关于我们
聚焦企业最新资讯,助力职业经理人把握企业动向。
留言本
留言本
免责声明
免责声明
投稿规则
投稿规则
扫码关注
Copyright 56ceo.com Rights Reserved. 京ICP备2021035958号-6